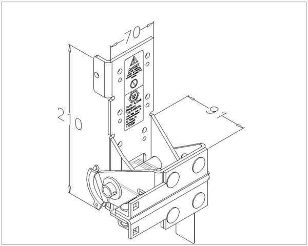
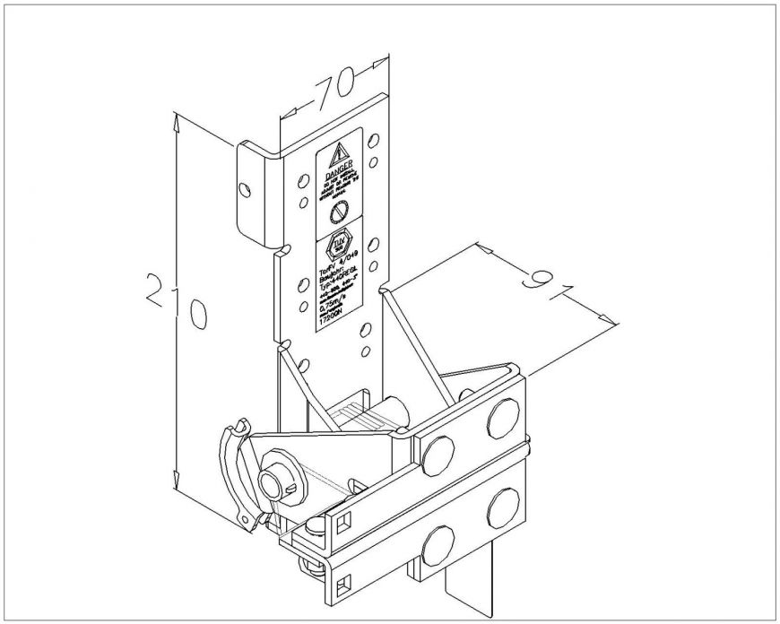
Kabelbreukbeveiliging verstelbaar
€ 214,06 /stuk Excl. BTW
€ 259,01 /stuk Incl. BTW
Kabelbreukbeveiliging, verstelbaar middels draadbussen en moeren.
Geschikt voor:
Looprollen met 11 mm as
2 inch rails
Maximale belasting 750 kg
Materiaal:
Verzinkt staal